C语言求完数
如果一个数等于它的因子之和,则称该数为“完数”(或“完全数”)。例如,6 的因子为 1、2、3,而 6=1+2+3,因此 6 是“完数”。
编写程序,求某一范围内完数的个数。
对于这类求某一范围(由于本题范围不固定,在编程过程中采用键盘输入的方式)内满足条件的数时,一般釆用遍历的方式,对给定范围内的数值一个一个地去判断是否满足条件,这一过程可利用循环来实现。
本题的关键是求出选取数值 i 的因子,即从 1 到 i-1 范围内能整除i的数,看某一个数 j 是否为 i 的因子,可利用语句 if(i%j==0) 进行判断,求某一个数的所有因子,需要在 1 到 i-1 范围内进行遍历,同样釆用循环实现。
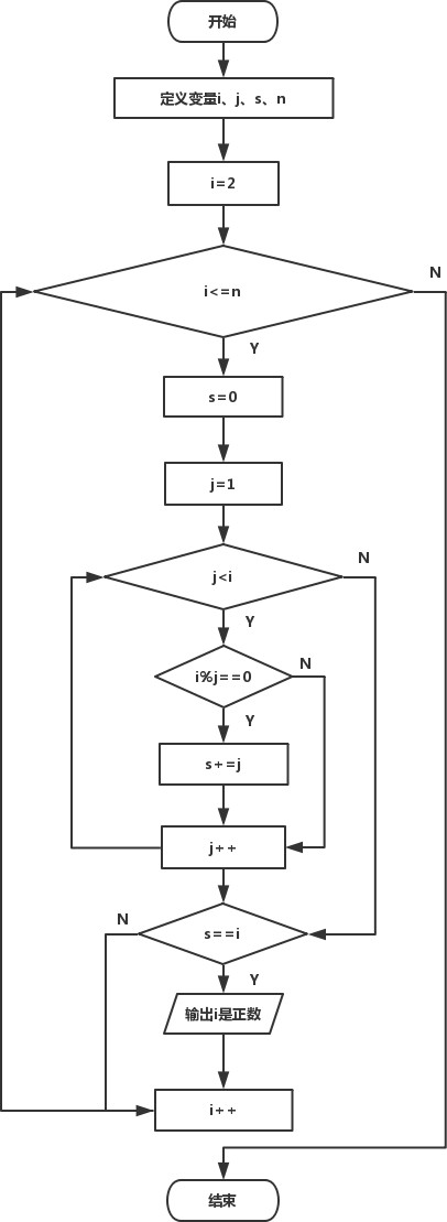
从整体上看,本题可利用两层循环来实现,外层循环 i 控制该数的范围 2〜n;内层循环 j 控制除数的范围为 1〜i,通过 i 对 j 取余,是否等于0,找到该数的各个因子。
注意,每次判断下一个选定数之前,必须将变量 s 的值重新置为 0,编程过程中一定要注意变量 s 重新置 0 的位置。
程序流程图:
声明:当前文章为本站“玩转C语言和数据结构”官方原创,由国家机构和地方版权局所签发的权威证书所保护。
编写程序,求某一范围内完数的个数。
分析
根据完数的定义,解决本题的关键是计算出所选取的整数 i(i 的取值范围不固定)的因子(因子就是所有可以整除这个数的数),将各因子累加到变量 s (记录所有因子之和),若 s 等于 i,则可确认 i 为完数,反之则不是完数。对于这类求某一范围(由于本题范围不固定,在编程过程中采用键盘输入的方式)内满足条件的数时,一般釆用遍历的方式,对给定范围内的数值一个一个地去判断是否满足条件,这一过程可利用循环来实现。
本题的关键是求出选取数值 i 的因子,即从 1 到 i-1 范围内能整除i的数,看某一个数 j 是否为 i 的因子,可利用语句 if(i%j==0) 进行判断,求某一个数的所有因子,需要在 1 到 i-1 范围内进行遍历,同样釆用循环实现。
从整体上看,本题可利用两层循环来实现,外层循环 i 控制该数的范围 2〜n;内层循环 j 控制除数的范围为 1〜i,通过 i 对 j 取余,是否等于0,找到该数的各个因子。
注意,每次判断下一个选定数之前,必须将变量 s 的值重新置为 0,编程过程中一定要注意变量 s 重新置 0 的位置。
程序流程图:

实现
#include<stdio.h>
int main()
{
int i, j, s, n; /*变量i控制选定数范围,j控制除数范围,s记录累加因子之和*/
printf("请输入所选范围上限:");
scanf("%d", &n); /* n的值由键盘输入*/
for (i = 2; i <= n; i++)
{
s = 0; /*保证每次循环时s的初值为0*/
for (j = 1; j < i; j++)
{
if (i % j == 0) /*判断j是否为i的因子*/
s += j;
}
if (s == i) /*判断因子这和是否和原数相等*/
printf("%d 是完数\n", i);
}
return 0;
}
运行结果:
请输入所选范围上限:10000
6 是完数
28 是完数
496 是完数
8128 是完数
声明:当前文章为本站“玩转C语言和数据结构”官方原创,由国家机构和地方版权局所签发的权威证书所保护。


ICP备案:
公安部网络备案: